微波通信
微波技术 研究微波波段无线电技术的学科。是无线电电子学的一个分支。主要研究微波的产生、放大、发射、接收、测量、传输、传播及其具体的应用等方面。应用于测量、雷达、遥控、遥感、电视、射电天文学、微波波谱学、微波中继通信、移动通信、卫星通信、粒子加速器等方面。
微波通信系统 利用微波传播以接力方式实现远距离通信的系统。由微波发信机、收信机、天馈线系统、多路复用设备和用户终端设备等组成。
微波电子管 在微波范围内工作的电真空器件。利用电子渡越时间,使电子流在管内与微波电磁场进行能量交换,形成微波振荡或进行微波放大。通过电子动能实现能量交换的有速调管、行波管等;通过电子势能实现能量交换的有磁控管等。
速调管 利用速度调制原理制成的一种微波电子管。通过对电子流进行速度调制,然后改变电子流密度,将电子动能转至微波电磁场,从而实现微波振荡或放大。分为直射速调管和反射速调管,前者作大功率微波放大器用,后者作小功率微波振荡器用。
行波管 利用电子流与沿慢波系统行进的电磁波间的连续相互作用放大超高频(微波)电磁波的一种微波电子管。由电子枪、慢波系统和收集极三部分组成。特点是工作频带宽,噪声低,适宜作中、小功率放大器。电磁波行进方向与电子流方向相反的行波管称“返波管”,可作宽频带微波振荡器。
行波管示意图
1.电子枪 2.慢波系统 3.收集极
4.输入 5.输出 6.电子束
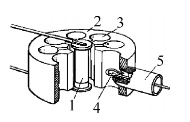
磁控管 电子以势能形式将能量交换给微波电磁场的一种微波电子管。也是一种正交场器件,用以产生大功率微波振荡。常用的为多腔磁控管,具有效率高、工作稳定等优点。分脉冲制工作和连续波工作两类。工作频率有固定和可变两种。
多腔磁控管
1.阴极 2.阳极
3.谐振腔 4.耦合环
5.同轴线
谐振腔 微波技术中作谐振回路的金属空腔。是磁控管和速调管等微波电子管的主要组成部分。有空心金属腔及同轴腔两种。前者有矩形、圆柱形、环形等;后者由一端或两端用金属片封闭的一段同轴线制成。品质因数很高,可达几千或几万。可用于测量微波波长。
吸收负载 亦称“匹配负载”。能将微波功率几乎全部吸收而极少反射的负载。可分高功率和低功率两种。前者用石墨水泥、碳粉与环氧混合物或用水作负载;后者可用含羰基铁粉的黏合物做成。吸收大功率时在吸收负载外面增加散热片。用作系统闭环调试或测试系统调整。
隔离器 一种两端口的微波铁氧体器件。电磁波沿其一个方向传播时的衰减比相反方向传播时的衰减大得多。按工作原理,分谐振式隔离器、场移式隔离器和集中参数隔离器等。主要用于雷达发送设备、微波测试系统和微波多路通信中继站等电路中。
波导 传输微波波段电磁波的装置。分封闭式和敞开式两种。前者较常用。参见“波导管”、“表面波传输线”。
波导元件 微波电路的传输元件。由不同形状的短段波导,或片、棒、环等形状的导体或介质构成。常用的有弯头、T字接头、定向耦合器、魔T匹配器及波型转换器等。
表面波传输线 一种敞开式波导。电磁波大部分集中在介质表面附近的空气层中沿着导体方向传输,向外辐射很小。通常用涂薄层介质的平面导体、圆柱导体制成,也可做成梳形。
带状线 亦称“微带”。微波波段中的主要传输线之一。由两条金属带条构成,中间放置介质基片。实际应用时,是在一块介质基片上,通过整套工艺过程在其正、反两面各镀上一条金属带条和一层金属接地底板。优点是体积小、质量轻;缺点是损耗大、耐功率小。适用于短距离、小功率传输场合。
波导管 一种封闭式波导。由具有矩形、圆形等截面的空心金属管制成。能量以无线电波的形式在波导管内传输。传输损耗比同轴电缆低。利用波导管可制成各种微波波导器件。为减少损耗,常在波导管内壁镀银。
波型 按电磁波电场及磁场的分布方向而划分的电磁波类型。如横电波、横磁波和横电磁波。横电波和横磁波中,又可按其电磁场在横截面上的分布情况而细分成各个更具体的波型。
横磁波 磁场只有横向(即垂直于传输方向的)分量,而电场兼有横向和纵向(即沿传输方向的)分量的电磁波型。以符号 TM 表示。按不同电磁场分布情况,分成各波型。
横电波 电场只有横向(即垂直于传输方向的)分量,而磁场兼有横向和纵向(即沿传输方向的)分量的电磁波型。以符号 TE 表示。按不同电磁场分布情况,分成各波型。
横电磁波 电场和磁场都只有横向(即垂直于传输方向的)分量的电磁波型。以符号 TEM 表示。如自由空间内的平面电磁波。也可在同轴线中传输,电场与轴垂直,磁场形成同轴的圆。
波阻抗 在自由空间或波导内任何一点,电磁波的电场强度与磁场强度的比值。对在自由空间的横电磁波而言,波阻抗恰等于介质的磁导率与介电常数的比值的平方根。在波导内,波阻抗等于垂直于传输方向的电场强度与垂直于传输方向的磁场强度的复数比。有时将传输线的特性阻抗也称“波阻抗”,但严格地说,两者的含义不完全相同。
阻抗匹配 使负载阻抗从网络、传输线或其他设备获得最大能量传输的措施。匹配的负载阻抗分别为:(1)供电电路中电源内阻抗的共轭值;(2)电子电路中电子器件最佳工作状态的负载值;(3)传输线中传输线的特性阻抗。
驻波比 传输线上或波导内出现驻波时,驻波的最大与最小振幅的比值。是反映传输线或波导与负载间阻抗匹配程度的参数。阻抗完全匹配时,其值为 1,表明负载阻抗没有功率反射;驻波比偏离 1 越多,负载阻抗反射的功率越大,传输效率越低。
测量线 微波波段测量驻波比的一种仪器。由一段衰减极小而加工极为精确的同轴线(或波导)和检波器组成。在同轴线的外导体或波导管上沿轴向开有一条狭长的槽,允许检波器的探针伸入线或管内并能沿轴向移动,借以测出各点电压,求出驻波比,从而了解设备的调整情况。是调测微波设备时不可缺少的仪器。
耦合器 实现功率分配功能的一种元件。各种微波分支器件、光功率耦合器件等均属此类。如在无源光网络中,将信号功率从多用户共享的光纤中平均分配给各用户的星形耦合器。
环行器 亦称“环流器”。一种多端口的微波铁氧体器件。输入任一端口的功率按照给定的顺序依次传输到下一端口。按工作原理和传输方式,分旋转式、相移式和波导结环行器等。主要用于雷达、多路通信等微波电路中,作收发开关及分频等用。
中继通信 亦称“接力通信”。一种延长通信距离的方法。利用微波和超短波传输信号时,两个终端站距离超过视距时,信号衰减很快,无法保证质量。如在两个终端站之间设若干中继站,中继站将前站送来的信号经过放大、整形和载频转换之后,再转发到下一站去,可延长通信距离并保持较好的通信质量。分模拟中继和数字中继两大类。前者受沿途噪声积累的影响,通信总距离和中继站个数都受到限制。后者因数字信号有较强的抗干扰能力,信号传输质量几乎不受中继站个数的影响,通信总距离可以大得多。
中继通信设备 中继站中用来转发信息的通信设备。包括:(1)接收部分,接收前站发来的信号,进行滤波、放大、整形或补偿,改善信号质量;(2)变频部分,变换信号的载频,防止在同频收发中产生信号的阻塞;(3)发送部分,将变频后的信号功率放大,发送至下站;(4)信息分配部分,负责输入、输出信息的分发工作。


